92538 MDL
(5339.22$, 4600.00€)

Уточнять о наличии
(+373) 79-288-788

Код товара: 9164

В корзину
  • Бесплатная доставка  по Кишинёву
Описание
Под Заказ

Описание

Схема котла

Дополнительные опции.

 Heiztechnik Q Eko Duo 17 кВт – котел, предназначенный для автоматической подачи топлива. Комплектуется шнеком, который подает топливо к горелке, бункером и автоматикой, которая руководит процессом горения и системой отопления. Трехтяговые теплообменники вместе с обогревательными колоннами способствуют хорошему отбору тепла и эффективной работе. Котел оснащен горелкой DUO, может сжигать уголь «экогорошек» и уголь с 10% содержанием угольной пыли. Комплектация котла горелкой TRIO (опция), кроме угля, делает возможным дополнительно сжигать пеллеты из соломы или подсолнечника. Горелка TRIO комплектуется системой пожаротушения. Котел Q Eko Duo имеет резервную топку, которая используется для сжигания дерева или угля. Горение происходит на водяных колосниках.    Стандартно, котел оснащен погодозависимой автоматикой HT-tronic®700, которая управляет работой насоса центрального отопления и ГВС, а также возможностью обслуживания смесительного клапана. Регулятор обеспечивает температуру возврата при помощи насоса котла, а также дает возможность подключения комнатных термостатов. Автоматика имеет возможность подключения Интернет модуля (опция).    По заказу, котлы могут обладать системой автоматического золоудаления и датчиком контроля оборотов шнека. Опционально, оборудование может выполняться с вертикальным дымоходом, встроенным охлаждающим контуром, а также увеличенным бункером. Стандарт выполнения: бункер с правой стороны котла. Подробнее: https://hkotel.com.ua/ru/kotly-s-avtopodachejj/kotel-s-avtopodachejj-heiztechnik-q-eko-duo-17/
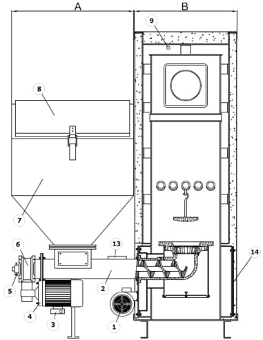
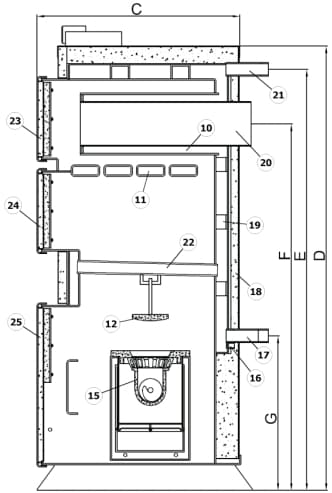
1-вентилятор, 2-шнек, 3-конденсатор, 4-двигатель шнека, 5-шпонка, 6-редуктор, 7-бункер топлива, 8-крышка бункера, 9-гильза датчика температуры, 10-водяная колонна, 11-водяные профильные трубы, 12-чистка горелки, 13-гильза датчика шнека, 14-заглушка горелки, 15-горелка, 16-патрубок слива, 17-патрубок возврата, 18-изоляция, 19-шпилька, 20-дымоход, 21-патрубок подачи, 22-водяные колосники, 23-двери чистки теплообменника, 24-двери загрузки, 25-двери для чистки пепла. 
Горелка вращательная TRIO для сжигания мелкого угля, угольной пыли и пеллеты.
Регулятор HT-Tronic®700 Touch.
Модуль клапана M-Z2.
Модуль буфера M-BC – модуль буфера и циркуляции ГВС.
HT-Tronic Rooms – панель удаленного управления с термостатом.
HT-Tronic Connect – модуль Internet.
Модуль OPS Eko Lambda – модуль оптимизации процесса сжигания Лямбда.
Увеличенный бункер.
Датчик контроля работы системы подачи.
Система автоматического золоудаления. Змеевик охлаждения.
Система пожаротушения.
Вертикальный дымоход.
Горелка, смонтированная позади котла.
Бункер с левой стороны котла. 
Характеристики
Тип котла Твердотопливный
Площадь обогрева 170 м²
Мощность 17 кВт
КПД 85 %
Подача топлива Автоматическая подача
Присоединение к инсталляции G 1 1/2 "
Ширина засыпного отверстия 590 мм
Температура ЦO (max) 85 °C
Объём воды 73 л
Тяга дымохода (минимум) 15 Па
Давление мин.-мвкс. 2 Бар
Диаметр дымохода 150 мм
Объём бункера 225 дм3
Тип топлива уголь экогорошек, уголь с 10% содержанием пыли.Топливо резервной топки -дерево, уголь.
Габариты ШхГхВ 540*600*1540 мм
Вес котла 415 кг
Родина бренда Польша
Бренд Heiztechnik
Производство Польша
Гарантия на котел/автоматику 48 / 24 мес.
Серия Q EKO DUO
Показать все характеристики
Характеристики могут меняться производителем без уведомления
Каталог товаров
Просмотренные
Статьи
Выбираем насос
Выбираем насос
Правильно выбрать насос, дело совсем не простое как может показаться на первый взгляд.
Отопление
Отопление
Мы проектируем и монтируем только качественные системы отопления «под ключ»
Полезная информация при выборе кондиционера.
Полезная информация при выборе кондиционера.
Практически большинство клиентов при покупке кондиционера задаются одними и теми же вопросами:
Водяные теплые полы от «Termoformat»
Водяные теплые полы от «Termoformat»
Termoformat Водяные теплые полы